

PER板樁用夾鉗介紹:
*PER板樁用夾鉗,是日本鷹牌EAGLE CLAMP品牌吊具,屬于土木工程用夾鉗。
*鷹牌PER板樁用夾鉗用于拉拔作業,屬于輕量型鋼板夾鉗;
*PER板樁用夾鉗主要吊裝材料:鋼板樁、型鋼樁、輕量化鋼、板樁鋼架等;
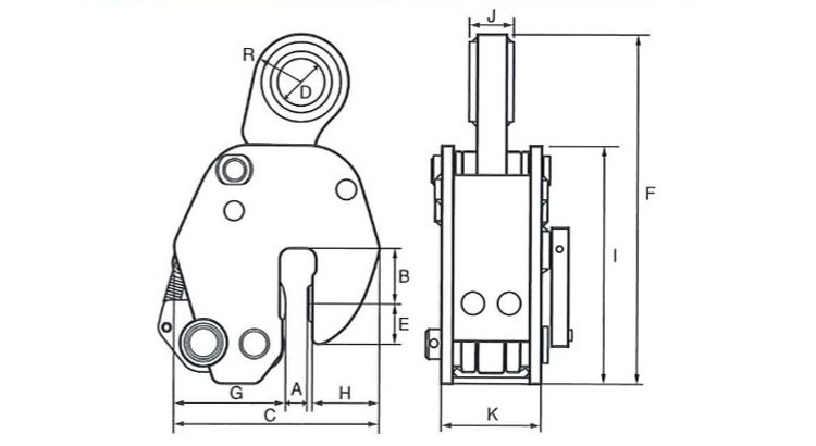
*PER型板樁夾鉗采用合金鋼,制動凸輪采用感應淬火鍛造而成。




注意:PER板樁用夾鉗在吊裝作業中,可與SBB螺旋鎖緊鋼板吊鉗配套使用,拉拔吊裝專用吊鉗。
![]()
PER板樁用夾鉗為日本鷹牌EAGLE CLAMP原裝進口產品,保質1年,我公司承諾凡是客戶在我公司定購的進口類產品均為原裝正品,絕不存在拆件貨,換件貨,假冒品牌產品,凡客戶從我公司訂購日本鷹牌EAGLE CLAMP產品如收到貨物時發現有拆件貨,換件貨,假冒、假貨仿貨均以100倍金額賠償。
產品分類:混凝土制品夾鉗?