
美國Crosby科索比品牌;S-1 Crosby萬向起重接頭又稱鋼絲繩防轉器,經過驗證測試并取得證書,耐用性高,煙臺開發區龍海起重工具有限公司銷售
![]()
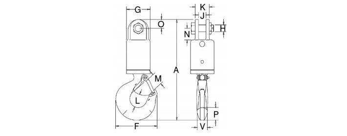
S-1 Crosby萬向起重接頭特點:
*S-1 Crosby萬向起重接頭配有圓錐滾子推力軸承
*S-1 Crosby萬向起重接頭負荷狀態下可高頻率作業
*S-1 Crosby萬向起重接頭所有吊鉤都配備了組裝好的閉銷,所有叉口都帶有栓、螺帽和開口銷
*S-1 Crosby萬向起重接頭逐個經過驗證測試,可達工作負荷限制的2倍
*S-1 Crosby萬向起重接頭配有壓力潤滑裝置
*S-1 Crosby萬向起重接頭規格可定制到1250噸
注意:S-1 Crosby萬向起重接頭只能與推薦的鋼絲繩配套使用,有效防止鋼絲繩打結
萬向起重接頭更多品牌和型號參考:鋼絲繩旋轉接頭?