

JDT單肢起重鉤介紹:
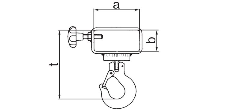
*JDT單肢起重鉤(鏟車單肢起重鉤、貨叉吊鉤)屬于德國JDTENORM10級吊鉤【鏟車專用貨叉吊鉤】
*鏟車單肢起重鉤采用合金鋼材質,特殊工藝制造,適用于高強度起重
*JDT單肢起重鉤分為單肢、雙肢兩種,詳細的雙肢起重鉤參數請參照:JDT雙肢起重鉤。

JDT單肢起重鉤可配叉車等進行起重作業


JDT單肢起重鉤為德國JDT原裝進口產品,保質1年,我公司承諾凡是客戶在我公司訂購的進口類產品均為原裝正品,絕不存在拆件貨,換件貨,假冒品牌產品,凡客戶從我公司訂購德國JDT產品如收到貨物時發現有拆件貨,換件貨,假冒、假貨仿貨均以100倍金額賠償。
產品選型:貨叉吊鉤?